IDOS CY子系统操作说明
首页
进出场计划
进场计划(空箱计划)
出场计划
进出场规则
集港出场
重箱返场(重箱计划)
集港预约
进出场操作
进场操作(还箱/提箱)
出场操作
批量出场
批量进场
历史进出场任务
货运进场
货运任务
货运出场
场内箱管理
场内箱管理.
箱综合查询
验箱
场内箱作业任务
集装箱批量查询
PTI管理
拆箱管理
装箱管理
EDI发送状态
修箱估价
修箱管理流程
新增修箱估价
修箱估价
修箱估价新增
修箱派工
估价单导出
食品箱检验
修箱费用确认
修箱基础资料
冷箱机型
损坏情况
船公司工时单价
部件代码
无批复修箱额度
算法依据
修理方法
修箱状态
船公司汇率
币种
船公司修箱
内部修箱
船公司估价收费方式
报表分析
修箱-修箱量统计表
日报-进出箱量统计
验箱查询
出场查询
进场查询
作业量查询
应付账单统计
打印现场交接小票
车辆出场查询
车辆进出场查询
车辆进出场历史查询
月结收费统计
应收账单统计
入港清单
场内移箱统计
进出目的箱量月统计
持箱人箱量月统计
大机司机作业详情
大机司机分类作业统计表
大机司机作业详情表
船公司进出场报表
工作效率
翻到效率
上下车费明细
预约管理
DPN预约提空标准
DPN预约提空应答
DPN预约还空应答
DPN预约日志查询
预约系统审核
微信预约
外代预约
货运审核
太古亿通查询
基础资料
车号管理
营运人代码
港口信息
箱型
堆场设置
箱尺寸
提还箱点
场区信息
箱位信息
箱况信息
标准进出场原因
进场原因
机械设备
国家与地区
出场原因
结费提醒配置
车辆白名单
EDI管理
邮件发送记录
EDI管理列表
发送服务配置
自定义表视图列表
客户预约管理
3D场控场区
场位图
场位图编辑
闸口操作说明
入口一体机
出口铅封机
CY功能流程图
本文档使用 MrDoc 发布
-
+
首页
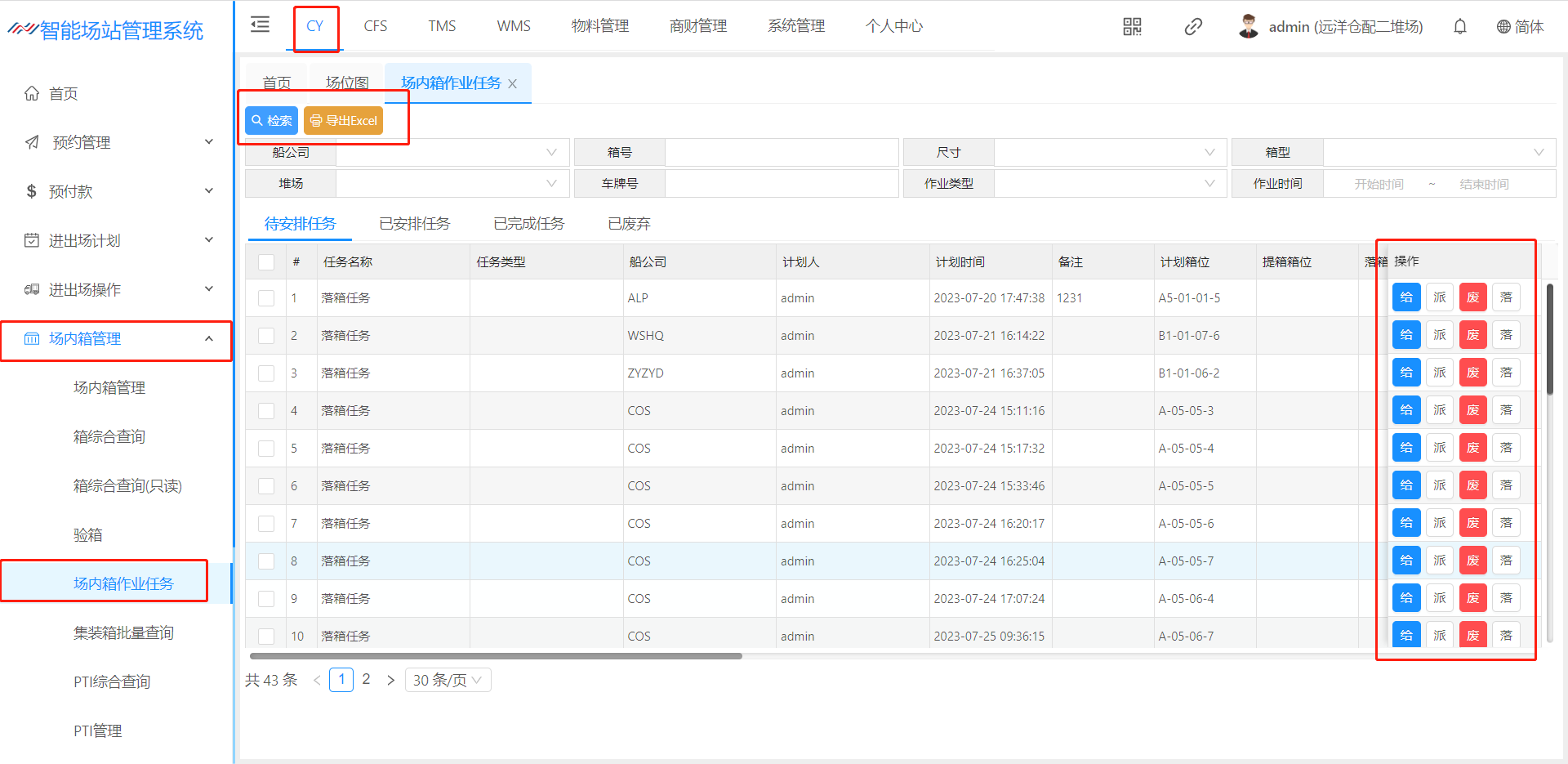
场内箱作业任务
 寻:寻箱,寻找集装箱位置 给:重新指派集装箱 派:指派一个车 落:落箱,将箱子落在指定位置 提:提箱,将箱子从位置提走 检索:查询任务 导出Excel:导出为Excel表格
idosr
2025年3月18日 13:15
分享文档
收藏文档
上一篇
下一篇
微信扫一扫
复制链接
手机扫一扫进行分享
复制链接
关于 MrDoc
觅思文档MrDoc
是
州的先生
开发并开源的在线文档系统,其适合作为个人和小型团队的云笔记、文档和知识库管理工具。
如果觅思文档给你或你的团队带来了帮助,欢迎对作者进行一些打赏捐助,这将有力支持作者持续投入精力更新和维护觅思文档,感谢你的捐助!
>>>捐助鸣谢列表
微信
支付宝
QQ
PayPal
Markdown文件
分享
链接
类型
密码
更新密码