当提单信息,车辆信息,箱号信息,作业信息,不完整,缺少提单信息,箱号信息等时,可以在此模块(虚拟台账)进行业务台账的创建,并可以进行任务调度。此模块的操作逻辑与“台账管理”模块逻辑完全一样。唯一的区别为,在调度时,额可以不输入箱号与箱型,后续由司机接收该任务后,根据实际作业的箱号,在小程序中进行回填,回填的同时,根据是否为入场作业,并且不为“无目的”,自动在CY中产生入场计划。
当任务完成后,提单信息完整且明确后,可以在此模块下,将完成的任务手工转到台账管理模块,并可以在台账管理模块进行费用生成,推送财商等操作。
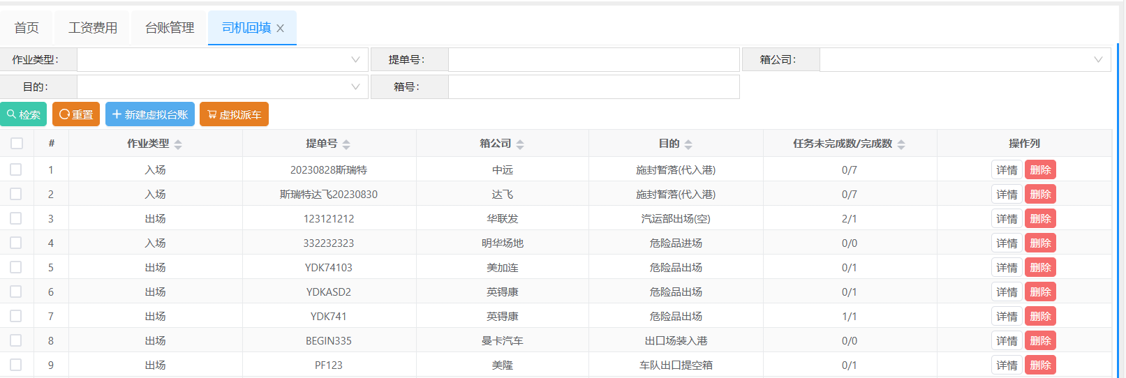
4.1添加虚拟台账
点击【新建虚拟台账】按钮,弹出新建页面,只填写必要的简单信息即可,点击确定按钮,进行创建。
4.2虚拟派车
勾选一条虚拟台账,点击【虚拟派车】按钮,进入虚拟派车信息页面。

在此页面,可以不输入箱号、箱型,直接进行调度,此页面操作逻辑参考“台账管理”模块。
在此页面创建的无箱号任务、后续由司机在小程序上根据实际作业的箱号,进行回填,回填后会显示在此页面,并且在回填箱号后,自动在CY产生入场计划。
4.2.1 转为台账
当业务人员知道详细的提单信息后,需要在台账管理创建出真实的台账信息。在此页面勾选一条或多条司机完成的任务,点击该按钮,勾选的数据会从虚拟台账中删除,插入到对应的正式台账中。在转台账的过程中,作业类型为出场,只能转到出场的台账中,作业类型为入场只能转到入场的台账中。

台账编号:该下拉框为台账管理模块中未完成的台账。
需要重新调度:该任务转为正式台账后,正式台账的状态为“未调度”,并且只保留箱号标识,箱号,箱型,铅封号的值,其他字段都为空,在该正式台账的调度页面,可以进行新的调度。
无需重新调度:该任务转为正式台账后,不能重新调度,只是将该任务与新的台账编号进行绑定。