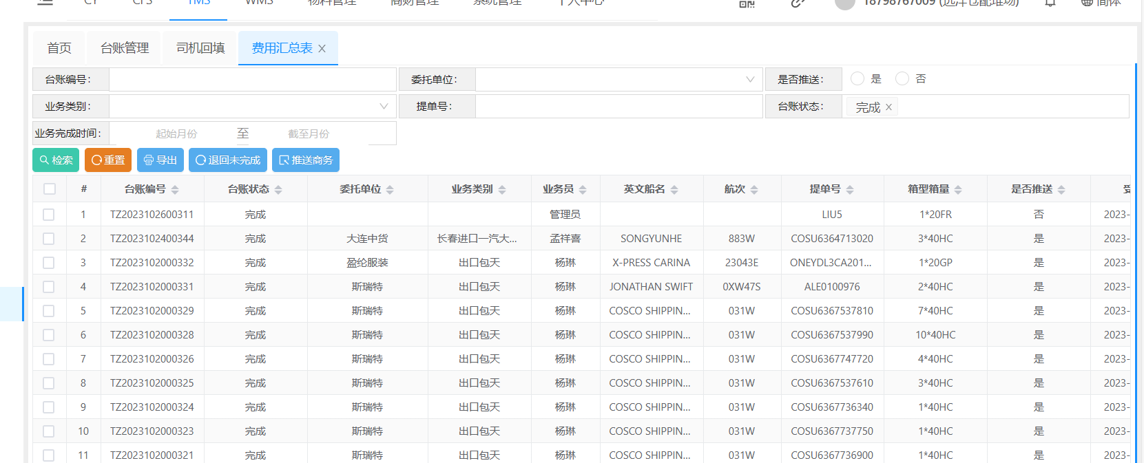
该页面默认展示出已经完成的业务,并且可以将已完成的业务,推送给商务模块,推送后的数据,显示为绿色。
1.导出
进入费用汇总页面展示所有费用信息,作业状态默认完成。根据检索条件,搜索数据,点击导出,导出报表。
导出表格的费用,根据该票业务中的费用不同,动态显示费用名。

2.推送商务
只有已完成的业务,可以推送商务,推送后,“是否推送”状态为“是”,并记录该业务的完成时间,该完成时间无法修改。推送后的数据由财商进行稽核处理。

3.退回未完成
已完成的业务,如果推送到财商的费用不对,可以点该按钮,删除已推送的费用,是否推送改为“否”,状态变为“进行中”,在台账管理页面,重新修改费用,并完成该任务后,可在此页面再次推送商务。如果商务已经稽核,将无法进行退回处理。必须由商务人员取消稽核才可点击该按钮。