7.1物料管理
物料管理:用于管理物料的基本信息,在系统中所展示的物料名称与编码都在此页面进行编辑,使用物料系统前需要先创建物料,以及物料流传时的流通单位
点击物料管理进入该页面可以添加、编辑、删除物料
7.1.1添加
①点击添加按钮弹出添加框
②填写编码 名称 型号 是否有损耗 损耗率(损耗:物料是否有损耗,损耗多少,目前损耗值,只用于展示,不参与逻辑计算)
③创建“基本计量单位” (单位在系统管理—数据字典—计量单位配置)
基本计量单位: 下拉框选择单位比如:根,(基本计量单位,在系统中的用于展示的单位,用于在系统中记录库存量,出库量等操作的单位)
入库默认计量单位:根据基本计量单位自动带入(同时也支持手动选择,选择与基本单位不一样时,需要在下方表格中填写换算关系,以便于系统在后续逻辑中计算基本单位的量,同时也方便在采购入库时,默认使用该单位进行操作)
盘点默认计量单位:根据基本计量单位自动带入(同时也支持手动选择,选择与基本单位不一样时,需要在下方表格中填写换算关系,以便于系统在后续逻辑中计算基本单位的量,同时也方便在采购盘点时,默认使用该单位进行操作)
出库默认计量单位:根据基本计量单位自动带入(同时也支持手动选择,选择与基本单位不一样时,需要在下方表格中填写换算关系,以便于系统在后续逻辑中计算基本单位的量,同时也方便在采购出库时,默认使用该单位进行操作)
是否柴油:如果新增的物料为柴油,如 0号柴油 等, 此项需要选择“是”。否则在加油等模块,系统无法取到油号,系统无法正常使用。
④新增换算明细行
创建“基本计量单位” 与 “辅助记录单位”的换算关系,此步相当于创建了“辅助计量单位”
换算公式:1个辅助计量单位 * 换算系数 = 基本计量单位数量
⑤点击保存新增物料成功,在列表查看
7.1.2编辑
①选中一条物料点击【编辑】,弹出编辑框可以对物料单位进行修改
②辅助计量单位-编辑、删除
点击【编辑】按钮可以对辅助计量单位进行修改
点击【删除】按钮可以对辅助计量单位进行删除
已经使用的辅助计量单位不允许编辑删除
7.1.3删除
选中一条物料点击【删除】,弹出编辑框可以对物料单位进行删除,点击确定
删除的物料信息无法恢复
可以选择多条删除多条信息
注意:已使用的物料不允许删除
7.2维修单管理
可以通过页面查看维修记录,物料采购,并点击相应按钮进行相关操作
7.2.1 新建
①点击该按钮,进入新建页面,该页面可以在司机/维修班不方便使用小程序的时候使用。新建页面分上部分“司机报修”,可以用于填写报修内容。
车牌号:运输系统车辆管理维护
②点击【保存】按钮,临时保存后的数据,可以点击编辑进行修改。
③列表状态为报修未提交
④点击【提交】按钮,无法修改,只能通过【诊断】按钮,进行修改
7.2.2 诊断

①点击该按钮,进入该页面,维修班在此页面可以看到司机填写的“报修内容”
报修内容:如果司机提交的内容不正确,可以修改填写的报修内容。
其他内容根据实际情况自行填写。
维修方式:自主维修(内部维修);外协维修(需要选择维修商)。
②是否需要采购:选择“是”,【物料选择】按钮可以使用,并可以通过物料选择页面,选择此次维修时需要采购的物料。

③填写物料后,点击【保存】按钮,返回上一页面,点击【提交】按钮后,流程状态改为”物料报价中”,此时数据不能修改,进入下一流程,安技部进入采购环节
④如果没有采购物料,点击【提交】按钮后,流程状态改为“报修待审核”。
7.2.3 询价确认
需要采购询价,安技部门可以通过该按钮进入页面,在此页面进行物料价格填写。
可以进行临时保存,点击【提交】按钮后不能修。状态变为:“报修待审核”。可以由经理审核。
7.2.4 审核
状态为“待审核”的记录,可以进行审核确认。业务经理可以对所有内容进行审核
①点击【确认通过】按钮,弹出对话框,填写意见,状态改为“审核通过”,同时在“物料入库”页面生成入库单。
②点击【驳回重诊断】按钮,弹出对话框,填写意见,状态改为“创建”,此时需要再次诊断。
③点击【驳回重询价】按钮,弹出对话框,填写意见,状态改为“询价中”
④所有的审核意见会在列表展示
⑤审核页面点击【删除】按钮,可以删除该维修单,同时删除该维修单。 点击【审核取消】按钮,状态更新为“审核取消”。无法进行后续操作。
7.2.5 打印
审核结束,没有问题,可以通过打印按钮,将页面填写的内容以及材料采购费用,打印到Excel中,进行线下签字。
7.2.6 物料出库
点击该按钮进入该页面,根据上方检索条件,检索物料,根据默认单位,填写出库数量。点击每行【出库】按钮,进行出库,出库支持分批出库,每次出库的记录都会记录到出库明细中。
7.2.7 维修金额
进入该页面,根据维修级别,动态显示出表格。(诊断时选择的维修级别动态显示在表格中)
并可以填写每项工时,费用*工时=价格,“维修金额合计”文本框自动合计。点击【确定】按钮保存数据。该功能用于车辆单车成本导出时使用。
7.2.8 修理完成
点击【修理完成】按钮,可以在该页面登记完成时间,完成状态。
7.2.9 附件上传

①勾选一条数据点击【附件上传】按钮弹出附件上传框
②选择电脑中的图片,点击上传即可。系统支持多种数据格式
如果不需要,可以通过点击【删除】按钮进行删除。
7.2.10附件查看

①勾选一条数据点击【附件查看】按钮查看上传的附件,可以下载
7.2.11 维修商推送
如果诊断时,选择了外部维修,点击该按钮,可以将维修单推送给外部维修商,外部维修商可以根据实际情况进行填写。未完成的维修单可以多次推送,完成的维修单,维修商不能进行填写了。
该维修商对应的所有账户登录系统后可以看到对应数据,并填写回执内容
7.2.12查看回执
查看回执:查看维修商填写的回执内容。最上方有合计,可以导出查看回执内容
7.2.13 新建采购
点击该按钮,进入该页面,填写给类信息,此页面主要为某车辆,或者所有车辆提前采购易损件使用。
是否需要采购默认为 是。 需要填写物料。
点击【保存】按钮,创建维修单,流程状态为“-”,只有保存后才能提交
点击【提交】按钮,流程状态为“物料报价中”,此时,安技部门才可以点击【询价确认】按钮,进行物料采购,后续逻辑与之前逻辑一样。(点击【物料选择】按钮,操作逻辑与“新建”页面逻辑相同)
7.3物料入库
页面列表用于展示创建的入库任务,可以通过相应按钮,进行相关操作。该页面的数据只有审核通过后才能产生。
物料来源:维修单采购物料,只有审核通过的才能物料入库
7.3.1 物料入库
①可以对采购的物料进行入库。勾选列表中需要做入库的任务记录,点击该按钮
②弹出物料入库框,填写入库数量,此数量为入库确认数量(不能大于未入库数量,未入库数量来源新建时计划入库数量)
入库数量填写数量点击入库
如果所有物料没有入库,直接点击【入库全部完成】,视为未入库的物料不做入库了,此采购单直接完成入库
再到入库确认页面,进行实际到货的物料数量与系统重填写的数量是否一致。(此页面不能修改数量)
如果正确点击入库,对应的数量直接入库,入库数量错误可以驳回,需要重新填写入库确认数量。
③入库:可以分批入库,如可以先入库50根再入库50根
在入库过程中,可以查看列表状态入库中
当采购数量与入库数量完全一致时,状态自动变为:入库完成
④查看列表状态入库完成
如:有未入库的物料点击全部入库完成不允许再入库
⑤ 一键出入库
如果维修单中有采购,采购人员先输入需要确认的数量。为了方便使用,业务人员可以直接点击【一键出入库】按钮,点击后系统自动进行入库与出库操作并记录出入库记录。(出库在物料出库查看记录、入库在入库明细查看入库)

7.3.2 利旧入库

在物料入库页面,点击【利旧入库】按钮弹出入库页面。物料来源:本文档物料管理模块

点击【增加明细行】增加一行,选择物料编号,自动带出 名称 型号等信息。手工填写数量、供应商、单价等信息,可以进行利旧入库,入库后可以在入库明细查看。目前系统展示了3个利旧参考单价,当前库存最大单价(元)、最近一次采购单价(元)、利旧固定单价(元)。
新建物料时可以删除明细行,够选对应数据,点击【删除】删除该行。支持多行删除。
7.3.3 入库明细
①点击首页按钮,进入该页面。
②可以通过查询条件查询每次的入库记录
利旧入库:不做维修诊断没有维修单号
③导出
点击【导出】按钮,根据检索条件导出记录。
7.4物料库存
页面用于展示各种物料库存情况。库存为0的不展示,并可以通过各种检索条件进行检索
库存类型包括:正常库存,利旧库存,盘盈库存、利旧盘盈库存。
正常库存:通过采购流程,入库的物料
利旧库存:通过利旧,入库的物料
盘盈库存:通过盘点盘盈入库的物料
利旧盘盈库存:通过盘点利旧盘盈库存
7.4.1报废
①当材料使用到最后,无法再使用需要扔掉时,需要进行报废操作
(报废可以选择一条或多条进行报废)
②点击每行的【报废】按钮进入该页面
可以上传图片
③选择默认单位填写报废数量点击【确定】按钮进行报废。
④报废的物料可以通过报废明细页面进行查询。
7.4.2报废明细

点击按钮,进入该页面。通过查询条件可以查询到报废记录,明细可以查看照片
7.5物料出库
该页面用于查询出库的每笔材料明细。如果出库的材料为利旧,出库方式为利旧出库。并根据出库数量合算出出库价格
7.5.1直接出库

点击【直接出库】可以直接出库物料
出库数量不能大于库存数量
7.5.2补录出库
①该页面用于物料出库完成后,根据单号进行物料补录出库,需要填写对应的业务单号。
②填写 业务单号,填写数量,点击出库,将出库物料绑定到当前单据上。出库类型为“补录出库”
7.5.3导出
点击导出按钮,查看导出物料(可以根据检索条件查询导出相应物料)
7.6物料盘点
该页面可以对物料的库存情况进行盘点
7.6.1 新建盘点
①点击该按钮,进入新建页面。填写任务名称,点击【生成盘点任务】,系统会将当前时间点的系统中的库存情况展示。
②填写每种材料的整料库存和非整理库存。
合计:临时保存后在打开更新合计数量
整料库存:是指未裁剪的材料,可以根据默认单位填写对应数量即可
非整理库存:是指裁剪过的材料,需要人工按照单位要求,自行计算后填写
③如果有没有展示出的物料,点击【增加明细】按钮,按照实际情况填写。
可以删除增加的明细行
④点击【临时保存】,下次可以进行盘点,直到点击【盘点结束】
⑤点击【盘点结束】系统进行计算

7.6.2 盘点结果
点击后可以查看系统计算的盘点结果,异常数量。并可以对异常数量进行处理。
盘点结果:盘盈、盘亏。如果该物料库存类型为“利旧库存”,异常处理时,方式为“利旧盘盈入库” 或者“利旧盘亏出库”

①点击【异常处理】,可以在下方表格中,对异常的数量进行调整
盘亏出库:对应的出库记录会有明细记录
注意:盘亏出库数量不能大于库存数量
盘亏出库需要库存数量一次出库完成
②点击【异常处理】,可以在下方表格中,对异常的数量进行调整
盘盈入库:对应的入库记录会有明细记录
③异常处理处理完成,异常数量为0,如果根据实际情况处理之后不为0,说明实际物料有问题,需要线下确认物料问题。
7.6.3导出
导出结果:勾选某行盘点任务,点击【导出结果】,导出Excel结果。

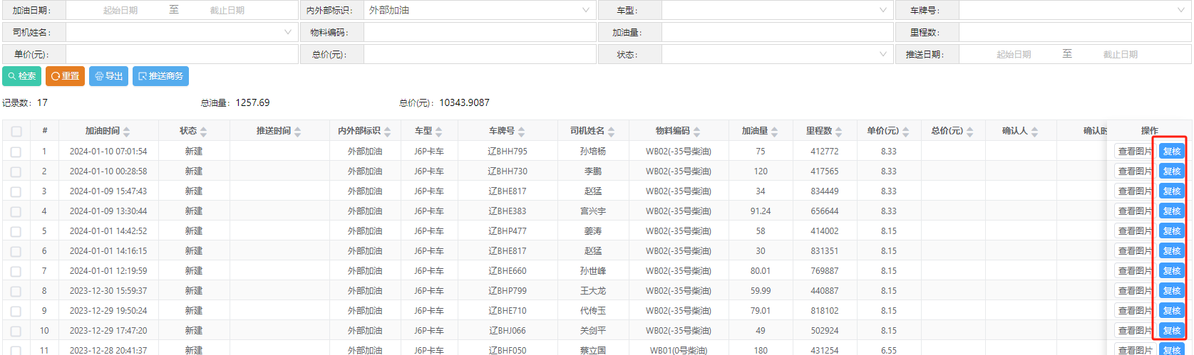
7.7加油记录
可以通过检索,显示加油记录,并对检索结果进行合计,显示在表格上方,包括记录数,总油量,总价。(状态为:加油量已复核的才能进行合计)
并可以对车辆的外部加油进行复核。
7.7.1检索
根据检索条件的组合,可以检索加油记录。
7.7.2推送商务(选用)
如有需要,可以勾选加油记录,点击【推送商务】按钮,推送到商务系统。推送状态变为“已推送”。
7.7.3查看图片
点击【查看图片】后,可以查看到2张图片的相关信息,并且照片带有上传标识。
7.7.4导出
点击【导出】按钮,导出加油记录,可以根据晒选条件导出
7.7.4复核
7.8维修级别
页面用于新建维修级别,在诊断时,可以选择维修级别。
7.9维修商回填
维修商登录系统,只能看到当前该页面,进入该页面后,可以看到详细的维修信息。
点击操作列上的【填写回执】,弹出填写页面。根据实际情况填写。填写完毕后,可以进行导出,打印等操作。
7.10外部维修报表
根据检索条件导出外部维修报表,方便与维修商对账。
7.11外部油号
系统支持车辆外部加油,但需要提前设置外部加油的油号。
