4.1物料管理
物料管理:用于管理物料的基本信息,在系统中所展示的物料名称与编码都在此页面进行编辑,使用物料系统前需要先创建物料,以及物料流传时的流通单位。
点击物料管理进入该页面可以添加、编辑、删除物料

4.1.1添加
①点击添加按钮弹出添加框
②填写编码 名称 型号 是否有损耗 损耗率
(损耗:物料是否有损耗,损耗多少,目前损耗值,只用于展示,不参与逻辑计算)

③创建“基本计量单位” (单位在系统管理—数据字典—计量单位配置)
基本计量单位: 下拉框选择单位比如:根,(基本计量单位,在系统中的用于展示的单位,用于在系统中记录库存量,出库量等操作的单位)
入库默认计量单位:根据基本计量单位自动带入(同时也支持手动选择,选择与基本单位不一样时,需要在下方表格中填写换算关系,以便于系统在后续逻辑中计算基本单位的量,同时也方便在采购入库时,默认使用该单位进行操作)
盘点默认计量单位:根据基本计量单位自动带入(同时也支持手动选择,选择与基本单位不一样时,需要在下方表格中填写换算关系,以便于系统在后续逻辑中计算基本单位的量,同时也方便在采购盘点时,默认使用该单位进行操作)
出库默认计量单位:根据基本计量单位自动带入(同时也支持手动选择,选择与基本单位不一样时,需要在下方表格中填写换算关系,以便于系统在后续逻辑中计算基本单位的量,同时也方便在采购出库时,默认使用该单位进行操作)
是否柴油:只有车辆模块才使用,该模块默认都选择否即可。
利旧固定单价(元):用于利旧入库时的参考值。
预报单价:用于在预估页面计算预估总价时使用。

④新增换算明细行
创建“基本计量单位” 与 “辅助记录单位”的换算关系,此步相当于创建了“辅助计量单位”
换算公式:1个辅助计量单位 * 换算系数 = 基本计量单位数量
⑤点击保存新增物料成功,在列表查看
4.1.2编辑
①选中一条物料点击【编辑】,弹出编辑框可以对物料单位进行修改

②辅助计量单位-编辑、删除
点击【编辑】按钮可以对辅助计量单位进行修改
点击【删除】按钮可以对辅助计量单位进行删除
已经使用的辅助计量单位不允许编辑删除
4.1.3删除
选中一条物料点击【删除】,弹出编辑框可以对物料单位进行删除,点击确定
删除的物料信息无法恢复
可以选择多条删除多条信息
注意:已使用的物料不允许删除
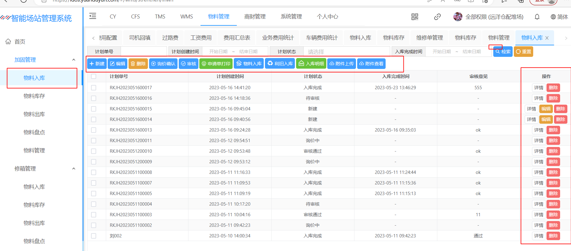
4.2物料入库
页面列表用于展示创建的入库任务,可以通过相应按钮,进行相关操作
4.2.1 新建
① 点击该按钮,弹出新建页面。可以创建需要采购的物料,一行为一种物料
选择物料编号,自动带出 名称 型号,单位。带出单位后,根据物料管理页面规则,显示对应文本框。
物料来源:本文档物料管理模块
根据默认单位,输入计划数量。单位根据物料管理中的配置可以选择基本单位或入库默认单位。最终系统会根据换算关系,自动计算基本单位的量记录到系统中
② 新建物料时可以增加明细行
点击【增加明细行】增加一行,勾选一行
③ 新建物料时可以删除明细行 点击【删除】删除该行
④点击【保存】按钮,创建计划,计划状态“创建”,该状态下的记录可以点击【编辑】按钮进行编辑。
⑤点击【提交】按钮,计划改为“询价中”,安技可以进行询价。

4.2.2 询价确认
询价确认:状态为“询价中”的记录,安技部门可以点击【询价确认】按钮,进入该页面
①填写单格和供应商,系统自动合计出采购总价。
单价:填写后保存再打开自动合计总价
供应商:下拉框带入 (来源:客户资料)
②点击【保存】按钮,临时保存,可以再次点击【询价确认】按钮进入该页面进行编辑。
总价根据计划入库数量与默认单位换算系数计算(物料管理-基本计量单位)
③ 全部信息填写完毕,点击【提交】按钮,状态改为“待审核”。
4.2.3 审核
状态为“待审核”的记录,可以进行审核确认。业务经理可以对所有内容进行审核
①点击【确认通过】按钮,弹出对话框,填写意见,状态改为“审核通过”
②点击【驳回重采】按钮,弹出对话框,填写意见,状态改为“创建”。此时可以对采购的物料重新进编辑。
③点击【驳回重询价】按钮,弹出对话框,填写意见,状态改为“询价中”。此时可以对价格进行编辑
④所有的审核意见会在列表展示
4.2.4 申请单打印
①审核通过后,可以勾选记录,点击【申请单打印】
②可以导出申请单,并打印进行线下签字确认。
4.2.5 物料入库
①可以对采购的物料进行入库。勾选列表中需要做入库的任务记录,点击该按钮
②弹出物料入库框,填写入库数量,此数量为入库确认数量(不能大于未入库数量,未入库数量来源新建时计划入库数量)
入库数量填写数量点击入库。
如果所有物料没有入库,直接点击【入库全部完成】,视为未入库的物料不做入库了,此采购单直接完成入库。
再到入库确认页面,进行实际到货的物料数量与系统重填写的数量是否一致。(此页面不能修改数量)
如果正确点击入库,对应的数量直接入库,入库数量错误可以驳回,需要重新填写入库确认数量。
③入库:可以分批入库,如可以先入库50根再入库50根
在入库过程中,可以查看列表状态入库中
当采购数量与入库数量完全一致时,状态自动变为:入库完成
查看列表状态入库完成
如:有未入库的物料点击全部入库完成不允许再入库
4.2.6 利旧入库
在物料入库页面,点击【利旧入库】按钮弹出入库页面。物料来源:本文档物料管理模块

点击【增加明细行】增加一行,选择物料编号,自动带出 名称 型号等信息。手工填写数量、供应商、单价等信息,可以进行利旧入库,入库后可以在入库明细查看。目前系统展示了3个利旧参考单价,当前库存最大单价(元)、最近一次采购单价(元)、利旧固定单价(元)。
新建物料时可以删除明细行,够选对应数据,点击【删除】删除该行。支持多行删除。
4.2.7 入库明细
①点击首页按钮,进入该页面。
②可以通过查询条件查询每次的入库记录
利旧入库:不做计划没有计划单号
③导出
点击【导出】按钮,根据检索条件导出记录。
4.2.8 附件上传

①勾选一条数据点击【附件上传】按钮弹出附件上传框
②选择电脑中的图片,点击上传即可。系统支持多种数据格式
如果不需要,可以通过点击【删除】按钮进行删除。
4.2.9 附件查看

①勾选一条数据点击【附件查看】按钮查看上传的附件,可以下载
4.2.10 编辑
可以对状态为:新建的物料进行编辑修改
4.2.11 删除
可以对状态为:新建的物料进行删除,删除后无法恢复
支持多条删除
4.3物料库存
页面用于展示各种物料库存情况。库存为0的不展示,并可以通过各种检索条件进行检索
库存类型包括:正常库存,利旧库存,盘盈库存、利旧盘盈库存。
正常库存:通过采购流程,入库的物料
利旧库存:通过利旧,入库的物料
盘盈库存:通过盘点盘盈入库的物料
利旧盘盈库存:通过盘点利旧盘盈库存
4.3.1报废
①当材料使用到最后,无法再使用需要扔掉时,需要进行报废操作
(报废可以选择一条或多条进行报废)
②点击每行的【报废】按钮进入该页面
可以上传图片
③选择默认单位填写报废数量点击【确定】按钮进行报废。
④报废的物料可以通过报废明细页面进行查询。
4.3.2报废明细

点击按钮,进入该页面。通过查询条件可以查询到报废记录,明细可以查看照片
4.4物料出库
该页面用于查询出库的每笔材料明细。如果出库的材料为利旧,出库方式为利旧出库。并根据出库数量与当时物料价格,合算出总价。
4.4.1直接出库

点击【直接出库】可以直接出库物料
出库数量不能大于库存数量
4.4.2补录出库
①该页面用于物料出库完成后,根据单号进行物料补录出库,需要填写对应的业务单号。
②填写 业务单号,填写数量,点击出库,将出库物料绑定到当前单据上。出库类型为“补录出库”
4.4.3导出
点击导出按钮,查看导出物料(可以根据检索条件查询导出相应物料)
4.5物料盘点
该页面可以对物料的库存情况进行盘点
4.5.1 新建盘点
①点击该按钮,进入新建页面
②填写任务名称,点击【生成盘点任务】,系统会将当前时间点的系统中的库存情况展示。
填写每种材料的整料库存和非整理库存。
整料库存:是指未裁剪的材料,可以根据默认单位填写对应数量即可
非整理库存:是指裁剪过的材料,需要人工按照单位要求,自行计算后填写
③如果有没有展示出的物料,点击【增加明细】按钮,按照实际情况填写。
可以删除增加的明细行
④点击【临时保存】,下次可以继续进行盘点,直到点击【盘点结束】
⑤点击【盘点结束】系统根据盘点填写的数量与系统当前点的数量进行计算。
4.5.2 盘点结果
点击后可以查看系统计算的盘点结果,异常数量。并可以对异常数量进行处理。
盘点结果:盘盈、盘亏。如果该物料库存类型为“利旧库存”,异常处理时,方式为“利旧盘盈入库” 或者“利旧盘亏出库”
①点击【异常处理】,可以在下方表格中,对异常的数量进行调整
盘亏出库:对应的出库记录会有明细出库记录
注意:盘亏出库数量不能大于库存数量
盘亏出库需要库存数量一次出库完成
②点击【异常处理】,可以在下方表格中,对异常的数量进行调整
盘盈入库:对应的入库记录会有明细记录
③异常处理处理完成,异常数量为0,如果根据实际情况处理之后不为0,说明实际物料有问题,需要线下确认物料问题。
4.5.3导出
导出结果:勾选某行盘点任务,点击【导出结果】,导出Excel结果。

4.6 物料预估
物料预估出库,先预估物料出库数量,和实际出库数量并可以计算与实际出库用料的差值
理货作业开始,调用理货数据接收 接口,物料预估增加数据

4.6.1预估
①点击预估跳转到预估页面,进行物料预估
(状态:新建和已预估的可以预估)
②在预估页面,搜索需要的材料,如果在“物料管理”页面,设置了“预报单价”页面单价会显示“预报单价”,如果没有设置,会显示库存单价。填写数量,点击【确定】按钮,系统会根据单价与数量计算每个材料的“总价”,并添加该物料的预估信息在下方列表中。所有材料预估完毕,关闭此页面即可。
③上述页面关闭后,该单据的状态变成已预估,同时更新预估时间、物料预估价。 并且根据系数计算"物料预估总价"(物料预估价*系数)。 价格计算完毕后,点击【工时预估】进行工时预估,页面默认带单格(不合适可以手工修改),填写工数,点击【确定】计算“工时预估总价”。"物料预估总价" + “工时预估总价”= 预估总价(元)

4.6.2 转利旧
① 理货app出库完成,更新状态:作业完成、更新完成时间
状态为:“作业完成”的才可以点击【转利旧】按钮
②该票使用的所有物料列出。并计算预估与实际出库的差,只有物料差 大于0的时候才可以选择物料,并可以填写个数,单位,转换为利旧物料。
③点击【利旧入库】按钮,将计算的差值,做利旧出库,留存出库记录,将转换的利旧材料做利旧入库,留入库记录,并留存转利旧记录
4.6.3 转利旧明细
查看转利旧的物料明细

4.7框架箱出库
该页面用于给业务人员对框架箱使用的物料进行出库
